TR Attack & Utility Helicopter Programs

Baris

Committed member
Messages
225
Reactions
909
Nation of residence
Turkey
Nation of origin
Turkey
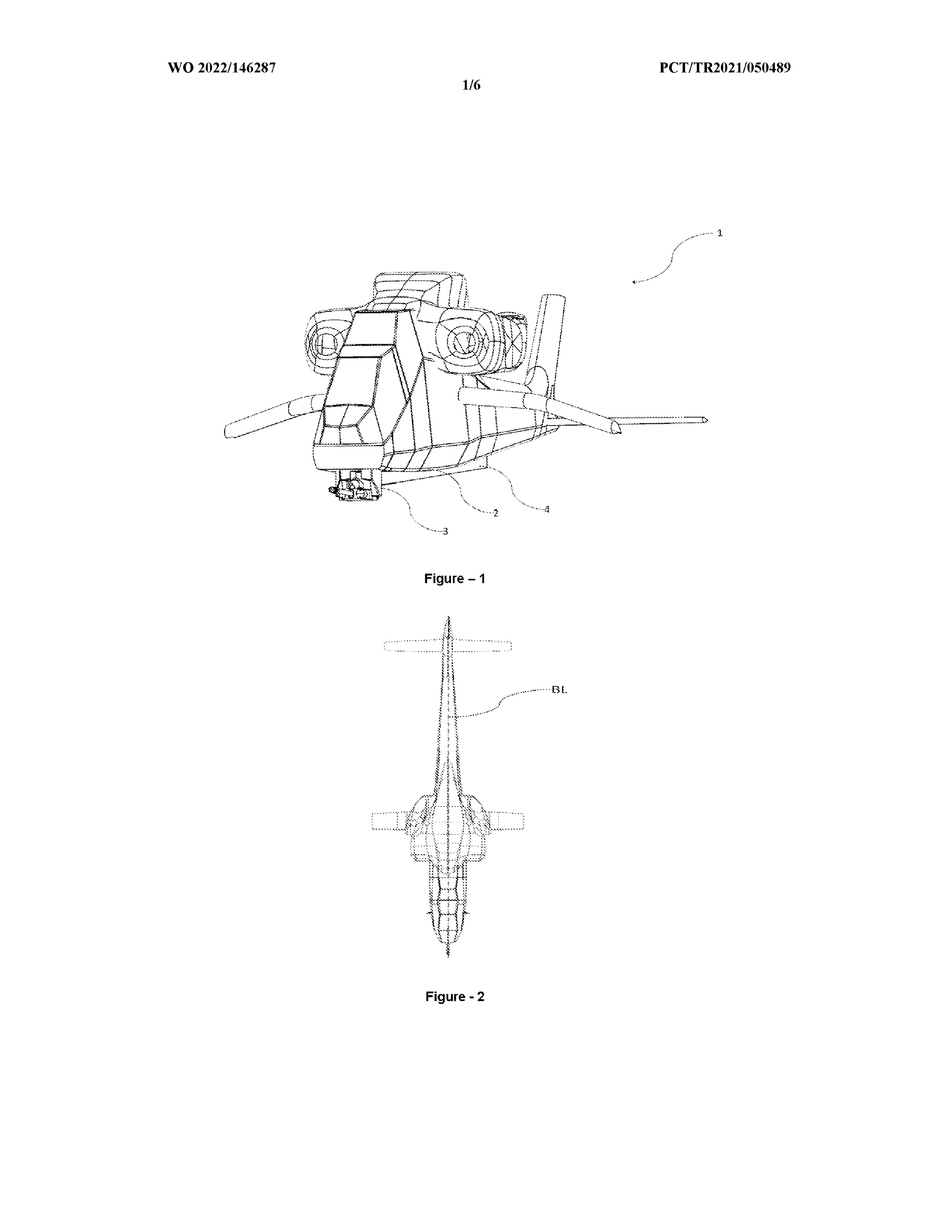
Atak 2


1663958446081.png


 

Combat-Master

Baklava Consumer
Messages
3,667
Reactions
15 25,479
Nation of residence
United Kingdom
Nation of origin
Turkey
Gün will move with the EO so no problem probably

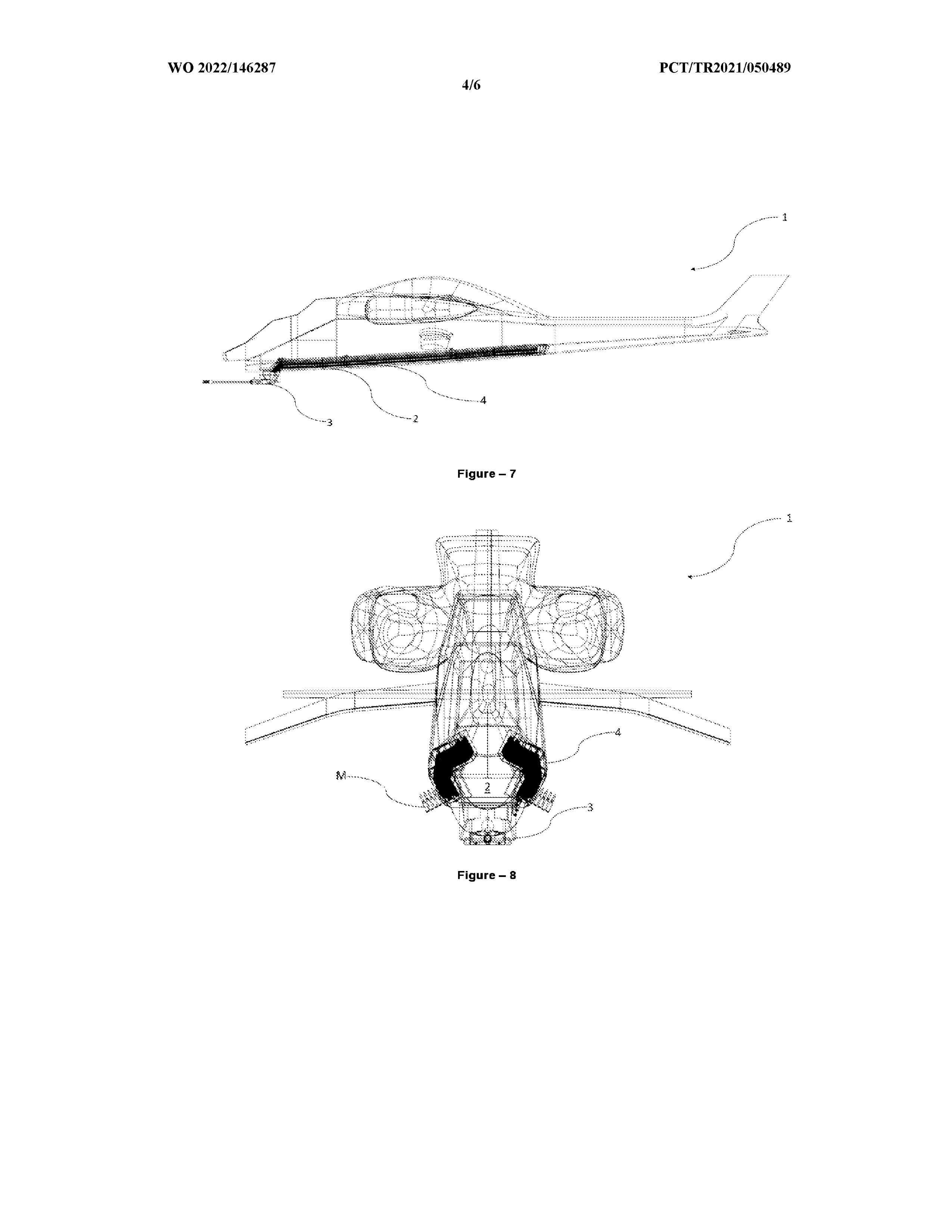
There will be occasions when the cannon isn't slewed with the E/O, especially during peacetime flights. That cannon is going to cause issues, the muzzle flash will cause intense blackouts for the E/O which may disorientate gunner.

AH-64 - You can see how far back the cannon is, zero muzzle flash/Black out
1664013161107.png

ATAK-2
1664013496977.png
 

Saithan

Experienced member
Denmark Correspondent
DefenceHub Diplomat
Messages
9,469
Reactions
52 21,346
Nation of residence
Denmark
Nation of origin
Turkey
There will be occasions when the cannon isn't slewed with the E/O, especially during peacetime flights. That cannon is going to cause issues, the muzzle flash will cause intense blackouts for the E/O which may disorientate gunner.

AH-64 - You can see how far back the cannon is, zero muzzle flash/Black out
View attachment 48031
ATAK-2
View attachment 48032
They’ll likely correct that issue.
 

Radko

Experienced member
Messages
1,520
Reactions
14 2,870
Nation of residence
Turkey
Nation of origin
Bosnia & Herzegovina
There will be occasions when the cannon isn't slewed with the E/O, especially during peacetime flights. That cannon is going to cause issues, the muzzle flash will cause intense blackouts for the E/O which may disorientate gunner.

AH-64 - You can see how far back the cannon is, zero muzzle flash/Black out
View attachment 48031
ATAK-2
View attachment 48032 ductio

There will be occasions when the cannon isn't slewed with the E/O, especially during peacetime flights. That cannon is going to cause issues, the muzzle flash will cause intense blackouts for the E/O which may disorientate gunner.

AH-64 - You can see how far back the cannon is, zero muzzle flash/Black out
View attachment 48031
ATAK-2
View attachment 48032
From the production sheet, it looks like EO is a bit further, eliminating(?) Muzzle flash and visibility problems
 

Attachments

  • 219671-3ddb96ac7597e6a6c8ca728b7be221cc.png
    219671-3ddb96ac7597e6a6c8ca728b7be221cc.png
    371.6 KB · Views: 243

kenny

Committed member
Messages
238
Reactions
1 875
Nation of residence
Japan
Nation of origin
Turkey
Not confidential information. Anyone can find this information.
 

Follow us on social media

Latest posts

Top Bottom