TR Attack & Utility Helicopter Programs

Combat-Master

Baklava Consumer
Moderator
Messages
3,667
Reactions
15 25,479
Nation of residence
United Kingdom
Nation of origin
Turkey
ATAK-2 is going to need hefty IR suppressors to cool down the heat generated by the Ukrainian engines, we will likely see a cooling system developed similar to the one used on Mi-28.
1684322230225.png

1684323360736.png

1684322594985.png
 
Last edited:

Combat-Master

Baklava Consumer
Moderator
Messages
3,667
Reactions
15 25,479
Nation of residence
United Kingdom
Nation of origin
Turkey
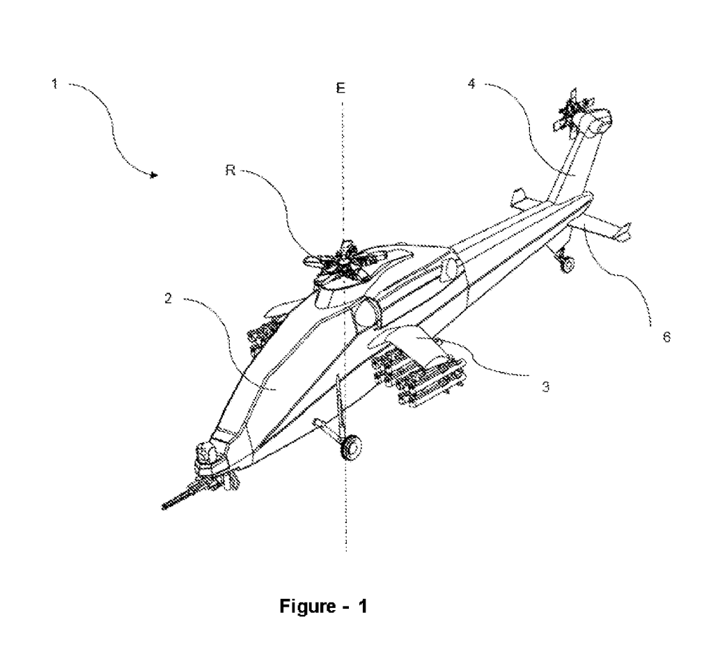
Looks like T-629;
1684706829057.png

1684706807034.png

 

boredaf

Experienced member
Messages
1,823
Solutions
1
Reactions
29 5,189
Nation of residence
United Kingdom
Nation of origin
Turkey
Looks like T-629;
View attachment 57593
View attachment 57592
I love how sleek it looks here and those 16 missiles.
 

Afif

Experienced member
Moderator
Bangladesh Correspondent
DefenceHub Diplomat
Bangladesh Moderator
Messages
4,980
Reactions
103 9,637
Nation of residence
Bangladesh
Nation of origin
Bangladesh
How much is percentange of chance that Atak 2 even if is direct hit by stinger igla or others still can survive and land safely ??

I am not sure even if a CH-47 or CH-53 could survive a direct hit by MANPAD.
Let alone Atak-2 or apache class helicopters.

Good news is DIRCM will be introduce on Atak-2. Which should protect the helicopter against IR missiles.
 

sozturk

New member
Messages
3
Reactions
1
Nation of residence
England(UK)
Nation of origin
Turkey
Defense industry does not remain stagnant in Turkey. Let's see what else is to come.

anti jamm
 
Last edited:

Afif

Experienced member
Moderator
Bangladesh Correspondent
DefenceHub Diplomat
Bangladesh Moderator
Messages
4,980
Reactions
103 9,637
Nation of residence
Bangladesh
Nation of origin
Bangladesh
Good to know TAI is socially modernizing.

That is a plus-size 'model' right there.😁
 

Bmx98

Committed member
Messages
165
Reactions
353
Nation of residence
Albania
Nation of origin
Albania
Sorry if I'm a little gun illiterate, but are those G3s? Edit: maybe HK G41s?
If you look closely they don't have barrels so probably not real guns at all just training wood guns I would assume. Also this is an elite unit they don't really use old guns like G3 they have HK new platforms like 416 and G28 for real combat use.
 

Captain_Azeri_76

Contributor
Messages
505
Reactions
1,649
Nation of residence
Germany
Nation of origin
Azerbaijan
If you look closely they don't have barrels so probably not real guns at all just training wood guns I would assume. Also this is an elite unit they don't really use old guns like G3 they have HK new platforms like 416 and G28 for real combat use.
In the future, and to a large extent already in the present, the Turkish army will rely on domestic weapons, for example, the MPT76. If HK is used, it is caused under pressure from NATO - but that too will come to an end, God willing.

"Profesyonellere MPT, acemilere G3

Hangi birliklerde ağırlıklı hangi tip piyade tüfekleri kullanılıyor?

MPT gibi modern ve etkili silahlar ise birincil kademedeki profesyonel birliklerde dağıtımdadır. G3 ise ikincil kademedeki eğitim birlikleri gibi birliklerde kullanılır, eline muhtemelen ilk defa silah alan ere maliyet-etkin çözüm olarak bu silah verilir. Yani envanterdeki her piyade tüfeği aslında TSK'nın görev icra ettiği her bölgede bulunur."
________________________________________________________

"MPT for professionals, G3 for beginners

Which types of infantry rifles are predominantly used in which units?

Modern and effective weapons such as the MPT are deployed in primary-level professional units. The G3, on the other hand, is used in the secondary echelon units, such as training units, and this weapon is probably given as a cost-effective solution to the soldier who receives a weapon for the first time. In other words, every infantry rifle in the inventory is actually available in every region where the TAF operates."
 

Follow us on social media

Top Bottom